弹簧减振器分类有哪些?
- 2015-11-12 14:03:00
- 上海静音减振器有限公司 原创
- 4894
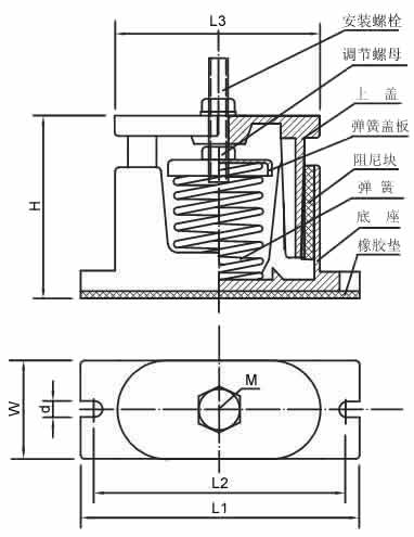
学习一门新知识,正所谓“纲举目张”,如果能找到该细分知识点的大纲、知识体系分类,则学起来势必事半功倍——综合知识如此, 弹簧减振器如是。而细分行业的权威基础知识最好的学习入口可能不在图书馆,而在该细分行业国内数一数二的主流厂家产品目录中,如弹簧减振器分类这类信息,我们在弹簧减振器制造商上海静音减振器有限公司的官网产品目录上就一目了然。通常情况下, 弹簧减振器分类主要有以下九种:
第一 . 上海静音 CT系列阻尼弹簧隔振器
第二 . 上海静音 CTF系列阻尼弹簧隔振器
第三 . 上海静音 CTS系列弹簧隔振器
第四 . 上海静音 CTE系列预应力组合弹簧隔振器
第五 . 上海静音 CTE2系列预应力阻尼弹簧隔振器
第六 . 上海静音 CTK系列可调式弹簧隔振器
第七 . 上海静音 CTD系列大载荷阻尼弹簧减振器
第八 . 上海静音 CTM系列限位式弹簧隔振器
第九 . 上海静音 CTN系列限位式弹簧隔振器
本文版权归上海静音减振器有限公司所有,欢迎转载,转载请注明作者和出处
作者:上海静音减振器有限公司
扩展阅读:
橡胶减振器 橡胶接头 不锈钢波纹补偿器 橡胶软接头 弹簧减振器 上海噪音治理
相关信息:
| 电话: | 15000400600 |
|---|---|
| Email: | shjingyin@163.com |
| 网址: | www.shjingyin.com |
| 地址: | 上海市青浦区金泽镇商周路148号 |
| 了解我们 | 新闻资讯 | 产品中心 | 安装实例 | 选型手册及软件下载 | 服务与承诺 | 联系我们 |
|
|
|
|
|
扫描上面二维码或添加微信号“ chinanvc”
|


